Заказы на запчасти принимаются строго через сайт путем добавления в корзину или лично в магазине.
1 КОЖУХА РОБОТ AUTOMOWER® 435X AWD
2 КОЖУХА - ПЛАТА РОБОТ AUTOMOWER® 435X AWD
3 КОЖУХА - ПЛАТА РОБОТ AUTOMOWER® 435X AWD
4 ПРИБОРНАЯ ПАНЕЛЬ РОБОТ AUTOMOWER® 435X AWD
5 КОЛЕСА ДВИГАТЕЛЬ РОБОТ AUTOMOWER® 435X AWD
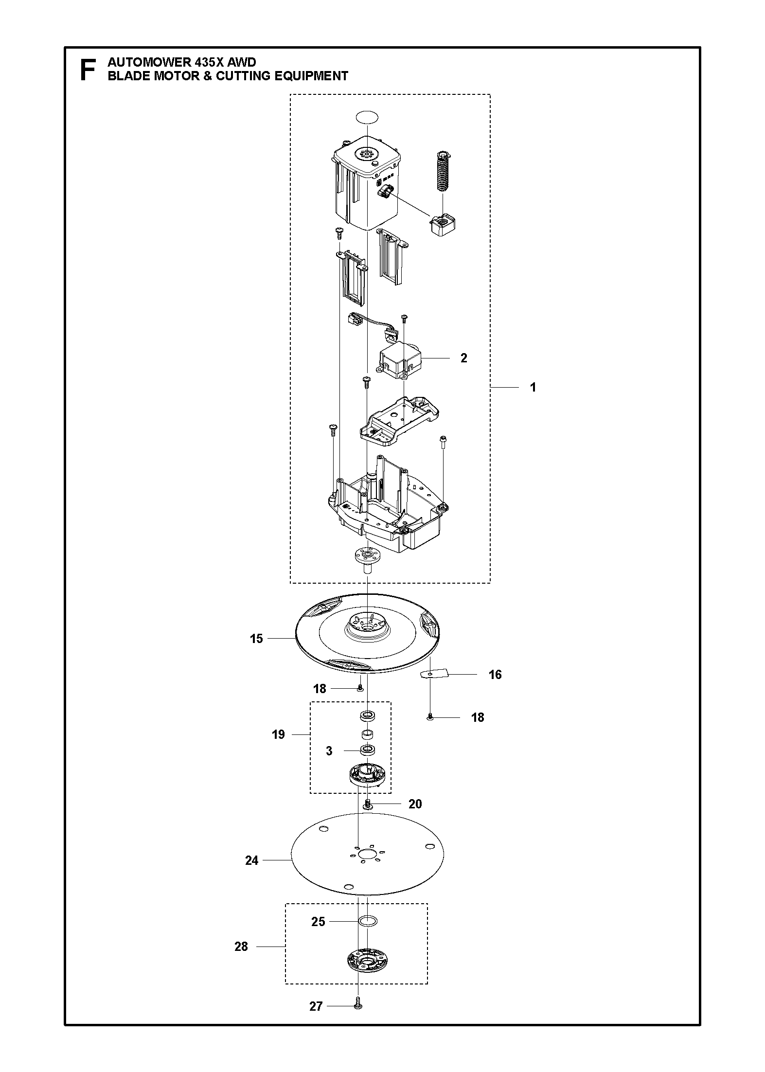
6 ДВИГАТЕЛЬ НОЖИ РОБОТ AUTOMOWER® 435X AWD
7 БАЗА РОБОТ AUTOMOWER® 435X AWD
8 ИНСТАЛЛЯЦИОННЫЕ АКСЕССУАРЫ РОБОТ AUTOMOWER® 435X AWD
9 АКСЕССУАРЫ РОБОТ AUTOMOWER® 435X AWD
Леска, триммерные головки, масла, смазки AUTOMOWER® 435X AWD
Инструменты для сервисного обслуживания AUTOMOWER® 435X AWD