![]() |
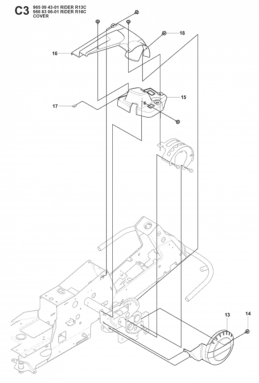
13 |
535 50 25-01 |
CONTROL COVER
Используется в агрегатах
|
1 |
4272 i |
|
|
 |
14 |
544 40 05-01 |
Винт
Используется в агрегатах
|
1 |
1034 i |
|
|
![]() |
15 |
544 33 21-03 |
CONTROL COVER
Используется в агрегатах
|
1 |
3537 i |
|
|
![]() |
16 |
544 33 22-02 |
COVER
Используется в агрегатах
|
1 |
3537 i |
|
|
 |
17 |
535 42 91-01 |
SPRING NUT
Используется в агрегатах
|
1 |
817 i |
|
|
 |
18 |
544 40 05-01 |
Винт
Используется в агрегатах
|
4 |
1034 i |
|
|